RESTAURATION KTM 350 GS 1986
1 2 Suivant >>
1 Suivant >>
Sujet
27 ans3333 messages 3838 images
Posté le 14-11-2020, à 20:08
Sujet
Bonjour à tous! Donc voilà je me lance dans la restauration d'une belle KTM 350 gs de 1986!
Voilà la base de départ:

Restauration KTM 350 GS 1986


La moto démarre, elle tourne bien, aucun bruit suspect, juste pas de frein, mais genre pas du tout, du coup on y va mollo lors des essais. Il faut savoir que le carter d'embrayage est neuf et c'est donc une très bonne nouvelle!

Restauration KTM 350 GS 1986


J'ai commencé le boulot par faire l'état des lieux  et j'ai déjà commandé quelques pièces (ouïes, étrier de frein avant de gs 1987 pour plus de performance, roue arrière radiateur). Voilà la liste de ce qu'il reste à acheter:

Restauration KTM 350 GS 1986
Restauration KTM 350 GS 1986
64 ans96659665 messages 19601960 images
Modérateur
Posté le 14-11-2020, à 22:46
Super machine,  👍 

=============================================
Pourquoi faire simple quand on peut faire compliqué!!       
              (Maximes Shadoks)                           😉                                                                 
=============================================
65 ans400400 messages 4545 images
Posté le 15-11-2020, à 05:26
Étriers de 87 double pistons je ne suis pas sûr que tu puisses les monter à la place des simples pistons

Moto(s) : 300 GS 1985 250 freeride 125 RDX
27 ans3333 messages 3838 images
Posté le 15-11-2020, à 08:21
Je trouve aussi gs-600-xc  😄 

ktm64 j'ai vérifié l'entraxe de fixation (60mm sur les 86 et 87) et la taille du disque (240mm sur les 86 et 87), donc je pense que va devrait le faire.

Ce matin je m'attaque au démontage des biellettes qui ont un sacré jeu!
59 ans24552455 messages 311311 images
Posté le 15-11-2020, à 09:27

ktm64 a écrit :

Étriers de 87 double pistons je ne suis pas sûr que tu puisses les monter à la place des simples pistons


Les cross '87 étaient montés en étriers 4 pistons. A voir si c'était le cas sur la gamme enduro.

Celui qui se perd dans sa passion est moins perdu que celui qui perd sa passion.
27 ans3333 messages 3838 images
Posté le 15-11-2020, à 09:58
De toute façon le mal est fait, la pièce est commandé. J'ai pris le maximum de précaution pour que ça s'adapte et j'ai plus qu'à croisé les doigts. L'étrier devrait arriver demain comme les ouïes.
59 ans298298 messages 115115 images
Posté le 15-11-2020, à 11:04
Salut Humella,

Je vais suivre ta restauration ayant travaillé sur le modèle 88 dernièrement.
Jolie moto

A+
Marco

Moto(s) : 350 GS 1988 / IT200 1985
27 ans3333 messages 3838 images
Posté le 15-11-2020, à 11:09
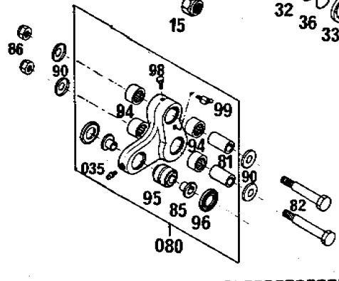
Bon ça y est, la biellette est démontée et je comprends d'où vient le jeu. Sans surprise, les roulements sont tous morts mais là où je suis plus surpris, c'est de voir qu'il me manque des pièces et que j'en ai également en rab
Restauration KTM 350 GS 1986

Restauration KTM 350 GS 1986


Alors en résumé, il me manque 3 caches "90", un graisseur "35", un axe qui n'est pas le bon. Avec tout ce jeu, ça a fini par usiner la biellette.
Donc j'ai deux options. Soit je fais rechargé en matière puis réusiner et je change tous les roulements, soit je trouve une biellette d'occasion en bon état.
J'ai pris l'option avec une biellette trouvé sur ebay pour 40€ avec les frais de port.
Restauration KTM 350 GS 1986


Il me manque toujours les caches "90" et je vais voir si un ami peut m'usiner un axe si j'en trouve pas un.
27 ans3333 messages 3838 images
Posté le 15-11-2020, à 11:13

Marco50 a écrit :

Salut Humella,

Je vais suivre ta restauration ayant travaillé sur le modèle 88 dernièrement.
Jolie moto

A+
Marco


C'est sympa, j'ai également lu ton sujet sur ta restauration. Elle est vraiment superbe et ton sujet va m'aider pour restaurer ma 86!
59 ans298298 messages 115115 images
Posté le 15-11-2020, à 11:22
J’ai peut-être un axe en rab ayant fait comme toi pour la biellette.
Donne les dimensions de celui qui te manque.
Pour les rondelles 90 je n’ai pas.

A+
Marco

Moto(s) : 350 GS 1988 / IT200 1985
27 ans3333 messages 3838 images
Posté le 15-11-2020, à 12:24

Marco50 a écrit :

J’ai peut-être un axe en rab ayant fait comme toi pour la biellette.
Donne les dimensions de celui qui te manque.
Pour les rondelles 90 je n’ai pas.


Restauration KTM 350 GS 1986
59 ans298298 messages 115115 images
Posté le 15-11-2020, à 16:55
T’es sûr du 73 ?
Ce serait pas plutôt 83 ?
Sinon je n’ai pas.

Marco

Restauration KTM 350 GS 1986

Moto(s) : 350 GS 1988 / IT200 1985
27 ans3333 messages 3838 images
Posté le 15-11-2020, à 17:31
Je viens de revérifier et c'est bien 73mm. Sur le part list c'est également marqué "M10x12x73"
59 ans298298 messages 115115 images
Posté le 15-11-2020, à 17:47
Ok
Désolé j’en ai 2 mais en 83mm
Bonne recherche
Marco

Moto(s) : 350 GS 1988 / IT200 1985
27 ans3333 messages 3838 images
Posté le 15-11-2020, à 18:11
Ca marche, merci d'avoir essayé. J'ai contacté un ami et il peut me faire l'axe dans la semaine. De toute façon ça ne presse pas comme ma biellette arrive qu'à partir du 2 décembre.
64 ans96659665 messages 19601960 images
Modérateur
Posté le 15-11-2020, à 18:21
Si tu les fais fabriquer, il faudrait partir de vis en 10.9. Une CHC M12, réduite et refiltée en M10, conviendrait.

=============================================
Pourquoi faire simple quand on peut faire compliqué!!       
              (Maximes Shadoks)                           😉                                                                 
=============================================
67 ans23792379 messages 13421342 images
Posté le 15-11-2020, à 18:33
Salut .
Beau challenge !!!  Si ton carter d'embrayage est en bon état , c'est déjà un gros bon point  👍  👍 
Tiens , ça peut peut-être t'aider .
www.ktmaddict.fr/viewtopic.php?id=2068
C'est la restau d'un membre il y a qques années . C'est une 300 , mais c'est du kif .

Bon courage . Ou bon  amusement  ???

Si l'aventure vous parait dangereuse , essayez la routine , c'est mortel .....Moto(s) : KTM 250 GS 75 ,77 , 80 , 400 79 ,600 lc4 88 , Triumph tiger 800
27 ans3333 messages 3838 images
Posté le 15-11-2020, à 18:33

gs-600-xc a écrit :

Si tu les fais fabriquer, il faudrait partir de vis en 10.9. Une CHC M12, réduite et refiltée en M10, conviendrait.


Oui j'ai prévenu mon collègue que c'était une vis 12.9
27 ans3333 messages 3838 images
Posté le 15-11-2020, à 20:38

belgokatoche a écrit :

Salut .
Beau challenge !!!  Si ton carter d'embrayage est en bon état , c'est déjà un gros bon point  👍  👍 
Tiens , ça peut peut-être t'aider .
www.ktmaddict.fr/viewtopic.php?id=2068
C'est la restau d'un membre il y a qques années . C'est une 300 , mais c'est du kif .

Bon courage . Ou bon  amusement  ???


Merci beaucoup pour l'enthousiasme. J'ai également lu le sujet sur la 300. C'est vraiment du très beau boulot!
27 ans3333 messages 3838 images
Posté le 16-11-2020, à 17:01
Aujourd'hui, réception de l'étrier de frein avant de 87. Il prend parfaitement la place de l'étrier Brembo d'origine.
Restauration KTM 350 GS 1986

Maintenant il faut que je trouve un maitre cylindre car le mien est cassé
Restauration KTM 350 GS 1986

Donc si quelqu'un a ça qui traine  😉 
59 ans298298 messages 115115 images
Posté le 16-11-2020, à 18:33
Sinon ici peut-être, mais pas donné  :cry: 

www.motocrosscenter.com/shop/en/00/309720-...

Marco

Moto(s) : 350 GS 1988 / IT200 1985
67 ans23792379 messages 13421342 images
Posté le 17-11-2020, à 09:54
Salut ,

Y a ça
tr-ktmmotorenonderdelen.nl/index.php/onder...
Site marchand Hollandais .
Super sympa et pas cher , mais ne parle ni Français ni Anglais ....
Tu ne sais pas commander direct sur son site , faut le contacter par mail.

Si l'aventure vous parait dangereuse , essayez la routine , c'est mortel .....Moto(s) : KTM 250 GS 75 ,77 , 80 , 400 79 ,600 lc4 88 , Triumph tiger 800
27 ans3333 messages 3838 images
Posté le 17-11-2020, à 12:03
Marco50 c'est un peu hors budget effectivement.
Merci belgokatoche, je vais lui envoyer un mail.
27 ans3333 messages 3838 images
Posté le 18-11-2020, à 11:06
Semaine dernière j'ai commencé à m'attaquer au ponçage du réservoir et voilà le résultat:
Avant
Restauration KTM 350 GS 1986

Après
Restauration KTM 350 GS 1986

Restauration KTM 350 GS 1986

Restauration KTM 350 GS 1986


Bon c'est pas blanc sortie d'usine mais je suis pas mécontent du résultat.
64 ans96659665 messages 19601960 images
Modérateur
Posté le 18-11-2020, à 11:58
C'est propre!  👍 

Il est essentiel que tu polisses le réservoir. Les micro-rayures du ponçage, ne demandent qu'à retenir la merde.
J'en ai fais les  frais, en manipulant un résé, fraichement poncé, avec les mains pas nettes.  :cry: 

Voir, passer un produit d'entretien pour le plastique.

Sur un autre forum, un gars a imprimé, en 3D, un logo SWM. Ça rend vraiment bien. C'est une super solution, la difficulté réside dans la création du fichier.
www.srcf.fr/forum/t9502-Logo-reservoir.html
Restauration KTM 350 GS 1986

(Photo JUJU rs)

Je ne me suis pas encore essayé au logiciel 3D. C'est plus ardu que je pensais.

Sur Le guide vert, une boite propose des fabrications, en impression 3D.
Un des membres addict, a fait appel à eux pour des patins de quide-chaine.

=============================================
Pourquoi faire simple quand on peut faire compliqué!!       
              (Maximes Shadoks)                           😉                                                                 
=============================================
1 2 Suivant >>
1 Suivant >>
KTMaddict.fr